中文
English
官方微信公众号
服务热线:400-688-1995
首页
关于我们
公司简介
企业文化
组织机构
产品展示
工具/动力源类
吊顶射钉器
瓦斯射钉器
气动射钉器
常规射钉器
力协瓦斯燃气
S1射钉弹
S3射钉弹
紧固件类
吊顶一体钉
瓦斯射钉
气动射钉
常规射钉
保温锚固射钉
特种钢钉
管线/管卡
其他紧固件
其他
力协PPR管材
弯头
三通
管帽
外丝堵头
外丝直接
内丝直接
外丝三通
内丝三通
45°弯头
外丝弯头
直接
钢包头
塑包头
钢中底
新闻中心
业界动态
我们的动态
环境信息公开
联系我们
关于我们
产品展示
新闻中心
联系我们
news
新闻中心
业界动态
我们的动态
环境信息公开
Contact Us
联系我们
电话:400-688-1995
邮箱:lixie@lixie.com
地址:四川省广汉市小汉镇
你现在的位置:
网站首页
>
新闻中心
>
环境信息公开
>
环境信息公开
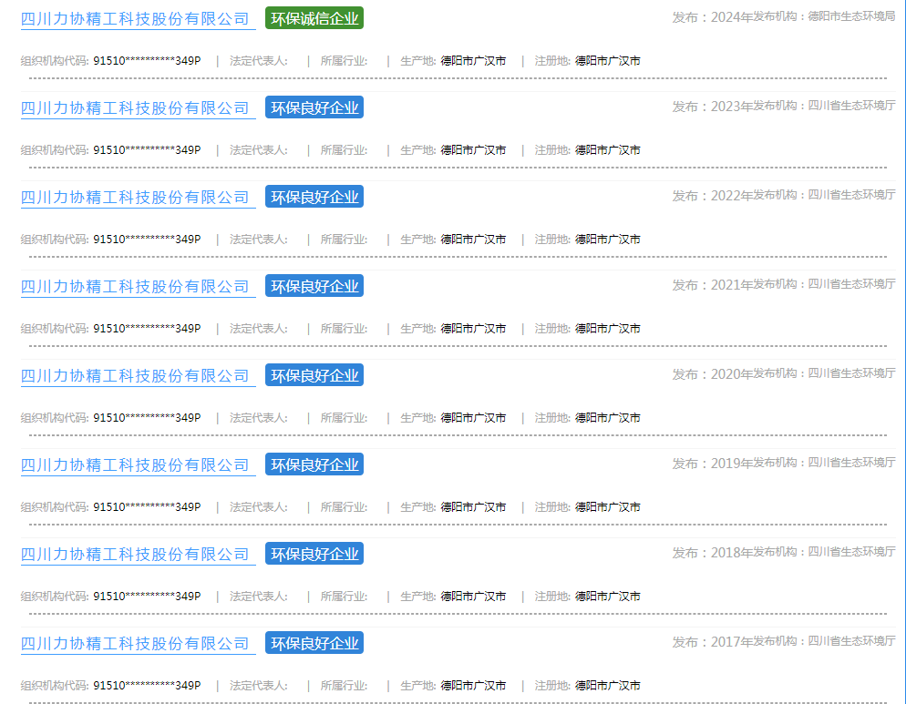
环境信用评价结果
更新时间:
2026-01-14 10:06:31
字号:
T
|
T
环境信用评价结果
上一篇:
四川力协精工科技股份有限公司环境信息公开资料(2025年度)
下一篇:
四川力协精工科技股份有限公司环境信息公开资料(2025)
收藏
打印
四川力协精工科技股份有限公司 © 版权所有 2018-2020
蜀ICP备16001440号-1
川公网安备51068102511043